
A-A-57174A
6.6 Key words.
Tactical vehicle
Axle
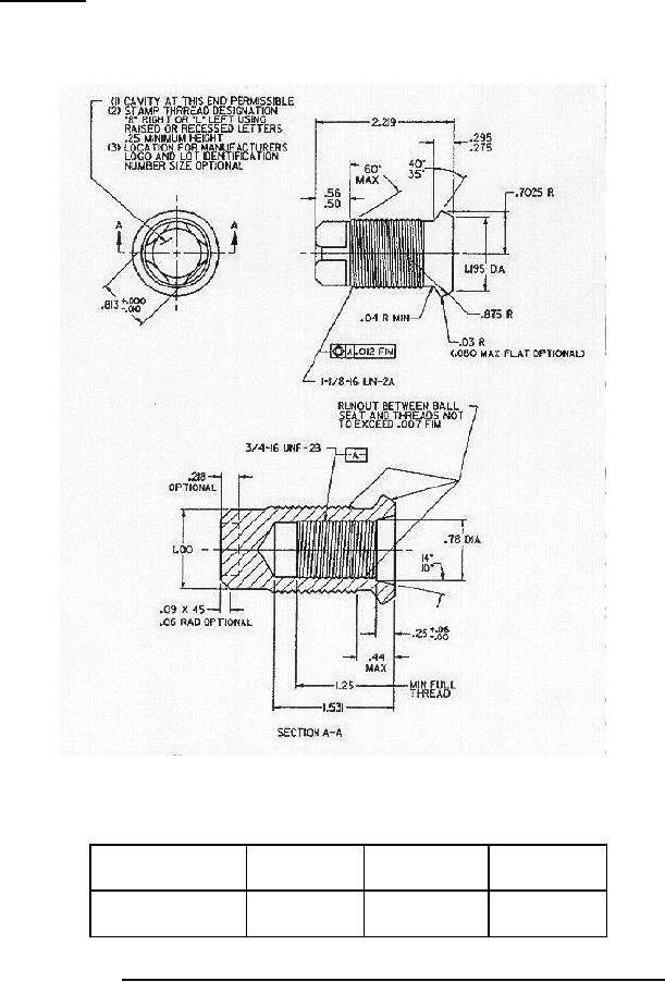
Unless otherwise specified, tolerances are ±0.010 on decimal and ±1 on
NOTE:
angular dimensions. Do not scale.
Part Identifying
Former
Former
Thread
Number (Pin)
MS part no.
part no.
A57174-1
M553068-1
10896739-1
Left hand
A57174-2
MS53068-2
10896739-2
Right hand
FIGURE 1. Dual wheel mounting nut, cap design, configuration and part number.
4
For Parts Inquires call Parts Hangar, Inc (727) 493-0744
© Copyright 2015 Integrated Publishing, Inc.
A Service Disabled Veteran Owned Small Business