
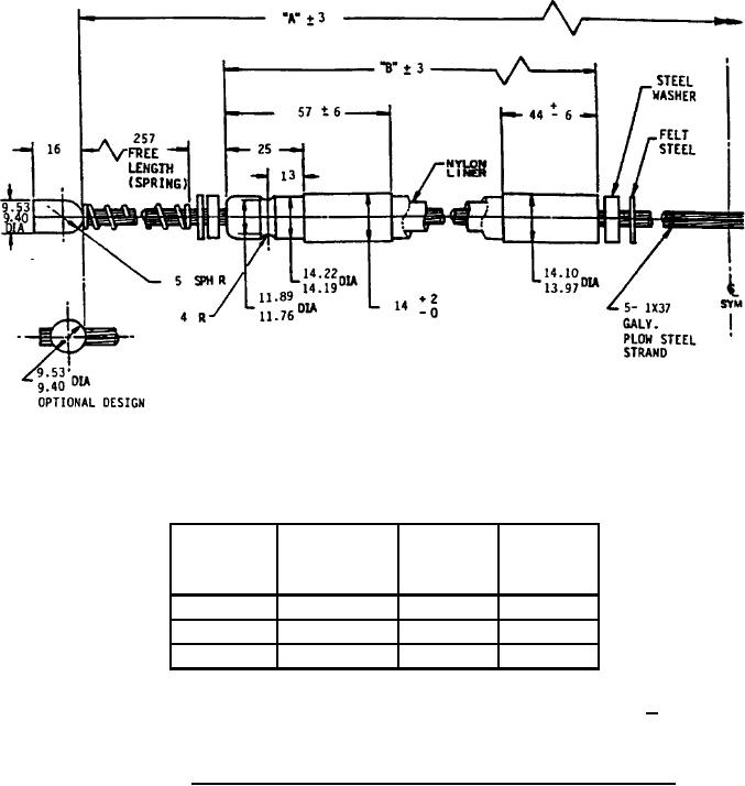
A-A-52500
CID
Former
PIN
MS part
"A" DIM
"B" DIM
no.
number
A52500-1
MS53058-1
2496
584
A52500-2
MS53058-2
2781
683
A52500-3
MS53058-3
4121
1397
NOTE: Dimensions are in millimeters. Unless otherwise specified, tolerances are + 0.76
FIGURE 1. Cable and conduit assembly with loop type, button end fitting.
2
For Parts Inquires call Parts Hangar, Inc (727) 493-0744
© Copyright 2015 Integrated Publishing, Inc.
A Service Disabled Veteran Owned Small Business