
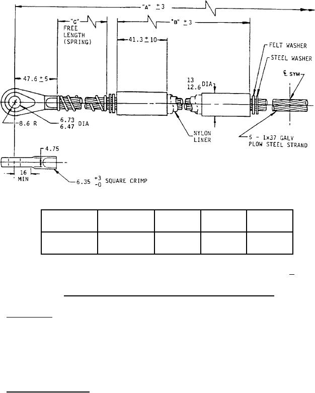
A-A-52477
Former
PIN
MS part no.
"A" DIM
"B" DIM
"C" DIM
A52477-1
MS53059-1
2267
533
76
A52477-2
MS53059-2
2635
660
-
NOTE: Dimensions are in millimeters. Unless otherwise specified, tolerances are + .76.
FIGURE 1. Cable and conduit assembly with loop type, eye end fitting.
2.5 Performance. Each cable and conduit assembly shall be pre-stretched under a load of 454 kg.
The cable assembly shall be capable of withstanding a load of 910 kg sustained for a period of two
hours with a maximum permissible slippage of each end fitting with respect to the cable of
.4 millimeter (mm). With load applied, the cable outer sheath shall not show any lateral
displacement or permanent deformation of conduit. The outside diameters of conduit coils shall
remain in-line.
2.6 Identification markings. Identification markings shall be permanent and legible and shall
include, as a minimum, the manufacturer's CAGE code, part number, and the part identification
number (PIN) (see figure 1 and note 5.3).
2
For Parts Inquires call Parts Hangar, Inc (727) 493-0744
© Copyright 2015 Integrated Publishing, Inc.
A Service Disabled Veteran Owned Small Business